(8452) 47-37-27, 45-95-44
magistrsar@mail.ru
Главная
»
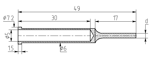
34181869.715321.002 (Насадка паяльника МD17-Z)